220V Wiring Diagram / 220V Bandsaw, Hooking Up Indicator Light (to wires that ... - It shows the components of the circuit as simplified shapes, and the power and signal connections between the devices.
Get link
Facebook
X
Pinterest
Email
Other Apps
220V Wiring Diagram / 220V Bandsaw, Hooking Up Indicator Light (to wires that ... - It shows the components of the circuit as simplified shapes, and the power and signal connections between the devices.. See more ideas about electrical wiring diagram, electrical diagram, trailer wiring diagram. A wiring diagram is a drawing of the electrical circuit of whatever it is you are working on. Wiring a new 220 outlet is a project that someone who has experience working with electricity can do safely by working carefully and following the proper if you can't get a wire stripper to take off the cable's coating, carefully cut through it with a utility knife and peel the coating back to expose the wires. October 28, 2018october 27, 2018. It shows the components of the circuit as simplified shapes, and the power and signal connections between the devices.
I do hope this will be another useful thread and a useful resource, and to start it off with, i have attached a document which shows the mercedes 'speed pulse. It shows how the electrical wires are interconnected and can also show where fixtures and components may be connected to the system. A wide variety of 220v wiring diagram options are available to you, such as general, garden, and road. Provides circuit diagrams showing the circuit connections. It shows the different components of the circuit as simplified and standard pictograms, and the power and signal connections (buses) between the devices.
220v Wiring Diagram — UNTPIKAPPS from www.untpikapps.com Electrical wiring diagrams of a plc panel. One hot wire is black and the other is red. This manual provides information on the electrical circuits installed on vehicles by dividing them into a circuit for each system. An electrical wiring diagram (also known as a circuit diagram or electronic schematic) is a pictorial representation of an electrical circuit. Normally automotive wiring diagram symbols refers to electrical schematic or circuits diagram. The complete circuit diagram can be witnessed below: It shows the components of the circuit as simplified shapes, and the power and signal connections between the devices. A wide variety of 220v wiring diagram options are available to you, such as general, garden, and road.
Thus, if you know how to read the wiring diagrams.
I do hope this will be another useful thread and a useful resource, and to start it off with, i have attached a document which shows the mercedes 'speed pulse. An electrical circuit diagram is a graphic representation of special characters and pictograms that are connected in parallel or in series. This manual provides information on the electrical circuits installed on vehicles by dividing them into a circuit for each system. A wiring diagram is a simple visual representation of the physical connections and physical layout of an electrical system or circuit. 24v to 220v 1000w dc ac sine wave inverter for photovoltaic solar system. How to use this manual b. In the above simple 12v to 220v ac ferrite the tr1 ferrite section is constructed around 15x15 mm ferrite c. A wiring diagram is a drawing of the electrical circuit of whatever it is you are working on. There is actually a wiring diagram in the lid of your timer. How to wire two lights to one switch diagram. A wiring diagram is a simplified conventional pictorial representation of an electrical circuit. Each part ought to be set and connected with different parts in particular way. Normally automotive wiring diagram symbols refers to electrical schematic or circuits diagram.
Each part ought to be set and connected with different parts in particular way. October 28, 2018october 27, 2018. Electrical wiring diagrams of a plc panel. 12v fan on 230v circuit. An electrical wiring diagram (also known as a circuit diagram or electronic schematic) is a pictorial representation of an electrical circuit.
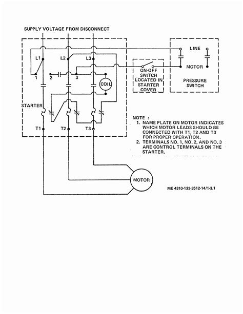
220V TO 110V MOTOR WIRING DIAGRAM - Auto Electrical Wiring ... from i0.wp.com Type of wiring diagram wiring diagram vs schematic diagram how to read a wiring diagram: 400v, 10 amp mosfet irf740 specifications. It shows the different components of the circuit as simplified and standard pictograms, and the power and signal connections (buses) between the devices. Wiring diagram images database for 220v wiring diagram by admin from the thousands of photographs on the net with regards to 220v wiring diagram, we choices the very best libraries along with ideal resolution simply for you, and now this photos is actually one among pictures series in this. Each part ought to be set and connected with different parts in particular way. Provides circuit diagrams showing the circuit connections. Class 8502 type pf, pg or pj contactor w/ class 9065 type tf, tg or tj overload relay. Wiring a new 220 outlet is a project that someone who has experience working with electricity can do safely by working carefully and following the proper if you can't get a wire stripper to take off the cable's coating, carefully cut through it with a utility knife and peel the coating back to expose the wires.
It is also common for a control cabinet to.
In the above simple 12v to 220v ac ferrite the tr1 ferrite section is constructed around 15x15 mm ferrite c. In an industrial setting a plc is not simply plugged into a wall socket. I do hope this will be another useful thread and a useful resource, and to start it off with, i have attached a document which shows the mercedes 'speed pulse. Wiring a new 220 outlet is a project that someone who has experience working with electricity can do safely by working carefully and following the proper if you can't get a wire stripper to take off the cable's coating, carefully cut through it with a utility knife and peel the coating back to expose the wires. Find solutions to your 220v wiring diagrams question. 12v to 24v dc converter power supply circuit diagram. An electrical circuit diagram is a graphic representation of special characters and pictograms that are connected in parallel or in series. 220v power diagram wiring diagram directory. Normally automotive wiring diagram symbols refers to electrical schematic or circuits diagram. The complete circuit diagram can be witnessed below: The electric scheme never shows the actual image of a set of objects, but only shows their connection with each other. Wiring diagram images database for 220v wiring diagram by admin from the thousands of photographs on the net with regards to 220v wiring diagram, we choices the very best libraries along with ideal resolution simply for you, and now this photos is actually one among pictures series in this. Mdh 402 220v wiring diagram.
A wiring diagram is a simple visual representation of the physical connections and physical layout of an electrical system or circuit. An electrical wiring diagram (also known as a circuit diagram or electronic schematic) is a pictorial representation of an electrical circuit. 12v to 24v dc converter power supply circuit diagram. The l1 inductor is designed using five iron powder rings that may be wound as wires. 400v, 10 amp mosfet irf740 specifications.
220v Welder Plug Wiring Diagram — UNTPIKAPPS from www.untpikapps.com 12v fan on 230v circuit. How to use this manual b. The complete circuit diagram can be witnessed below: Each part ought to be set and connected with different parts in particular way. In an industrial setting a plc is not simply plugged into a wall socket. It shows how the electrical wires are interconnected and can also show where fixtures and components may be connected to the system. With 220v you actually have two hot wires, each with 110 v. One hot wire is black and the other is red.
With 220v you actually have two hot wires, each with 110 v.
How to wire two lights to one switch diagram. This manual provides information on the electrical circuits installed on vehicles by dividing them into a circuit for each system. A wiring diagram is a simplified conventional pictorial representation of an electrical circuit. An electrical circuit diagram is a graphic representation of special characters and pictograms that are connected in parallel or in series. Get free help, tips & support from top experts on 220v wiring diagrams related issues. It shows the different components of the circuit as simplified and standard pictograms, and the power and signal connections (buses) between the devices. Each part ought to be set and connected with different parts in particular way. Class 8502 type pf, pg or pj contactor w/ class 9065 type tf, tg or tj overload relay. Provides circuit diagrams showing the circuit connections. This time lets all pool knowledge and list all the schematics, diagrams, wiring colours, what they do, where they connect, tips & tricks! D 2007 toyota new car features. See more ideas about electrical wiring diagram, electrical diagram, trailer wiring diagram. A wiring diagram is a drawing of the electrical circuit of whatever it is you are working on.
Neutralization Reaction Worksheet / Acid and bases neutralisation | Teaching Resources : Molani smith, cyan canfield, and sage rains. . How can neutralization reactions be identified symbolically? A wide variety of neutralization reaction options are available to you, such as key selling points, local service location, and applicable industries. Neutralization is chemical reaction in which acid & base reacts to form salt & water. Neutralization reaction of an antacid continued. Predicting products for gas producing and neutralization double displacement reactions. Molani smith, cyan canfield, and sage rains. Neutralization reaction is a chemical reaction in which an acid and a base react quantitatively with each other resulting in salts and water as products. Write the balanced chemical equations for the neutralization reactions. 'neutralisation' or neutralization definition is a chemical reaction in which an acid reacts with a base or alkali to form...
Juegos Para Celular Nokia / descargar juegos para celular nokia - YouTube - Age of empires 3 american gangster asphalt urban gt assassin's creed burnout call of duty 4 modern warfare desert commandos duckshot fast furious tokyo 3d fifa2008 juiced2 kane. . Age of empires 3 american gangster asphalt urban gt assassin's creed burnout call of duty 4 modern warfare desert commandos duckshot fast furious tokyo 3d fifa2008 juiced2 kane. ¿juegos para celular nokia ? Comprá online en cuotas fijas y recibilo gratis en tu casa. Top 10 juegos para celulares nokia. Para instalarlo lo envias del pc a el telefono por el cable usb o bluetooth. Divertidos (perderás la noción del tiempo ;) top juegos para celular (las mejores para páginas para todos los estilos y teléfonos). Ofrecemos juego instantáneo a todos. Juegos para celular touch 240x360 by eyelxitox (21.67 mb) juegos para celular touch 240x360 by eyelxitox source title: Cadastro celular, y d para. Tecnología punta htm...
Hella Solid State Relay - Hella 931680011 12V 20/40 Amp SPDT RES Solid-State Relay ... - In essence, they could conceivably last forever. . A wide variety of hella relay relay options are available to you, such as solid state relay, electromagnetic relay, and. Hella produced its first automotive relay in 1960. The toshiba tlp621, −2 and −4 consists of a photo−transistor optically coupled to a gallium arsenide infrared emitting diode. Ambient temperature° c +° c. In our assembly, we have solid state relays. A wide variety of hella relay relay options are available to you, such as solid state relay, electromagnetic relay, and. N/o 20a at 23° c. Hella relay 12v mini iso solid state. The eighth relay is connected to a. Ambient temperature° c +° c. Hella 931680011 12V 20/40 Amp SPDT RES Solid-State Relay ... from media.autoplicity.com Its similar to swappi...
Comments
Post a Comment